九游娱乐(NineGameSports)官方网站-九游引领娱乐潮流

业绩滑坡、明星流失招商基金陷入“规模缩、信心减”怪圈?-九游娱乐电视传媒
当前位置: 主页 > 明星速递 业绩滑坡、明星流失招商基金陷入“规模缩、信心减”怪圈?

业绩滑坡、明星流失招商基金陷入“规模缩、信心减”怪圈?

更新: 2025-10-25 11:10来源: 网络浏览次数:

  自今年5月钟文岳回归出任总经理后,公司管理层频频换血:从朱红裕、王景、陈方元升任首席(副总经理级),到于立勇、谭智勇相继出任副总经理,再到9月底钟文岳暂代董事长,招商基金迎来了新的掌舵者。

  此前,在王小青任内,招商基金曾实现公募及非货币管理规模的翻倍增长。然而,当接力棒交到钟文岳手中,他所面临的已不仅是延续增长的任务,更是重建信心与格局的挑战。眼下,公司业绩压力显著尽管A股行情火热,但多位基金经理仍因产品亏损向持有人致歉,投资端承压的现实由此显现。

业绩滑坡、明星流失招商基金陷入“规模缩、信心减”怪圈?(图1)

  500)this.width=500 align=center hspace=10 vspace=10 alt=>

  500)this.width=500 align=center hspace=10 vspace=10 alt=

  固收板块同样遭遇考验,“固收一哥”马龙的离任导致招商基金债券基金类规模连续下滑。明星基金经理的出走,不只是公司人事层面的变动,更可能引发市场信心的连锁反应。昔日招商基金稳固的护城河,正出现肉眼可见的裂痕。

  2025年以来,招商基金的人事调整密度创下近年来新高,而这或与公司业绩持续承压密切相关。数据显示,2022年至2024年,公司净利润连续三年下滑,从18.13亿元降至16.5亿元,累计下降近9%;2025年上半年更是跌破8亿元,同比下降6.8%。此外,截至6月末,资管业务规模降至1.54万亿元,较年初减少1.91%。规模增长乏力、业绩低迷,使管理层调整成为必然。

业绩滑坡、明星流失招商基金陷入“规模缩、信心减”怪圈?(图2)

  500)this.width=500 align=center hspace=10 vspace=10 alt=>

  500)this.width=500 align=center hspace=10 vspace=10 alt=

  业内普遍认为,钟文岳的“双重角色”兼任总经理与代董事长这一安排多为短期过渡,但在招商基金,这一人事布局具有更深层的集团协同考量。钟文岳在招商基金任职多年,熟悉公司内部结构;而他在招银理财的两年间,主导了理财产品线精简与核心产品打造,积累了丰富的净值化管理与零售客户运营经验。

  集团层面上,据招商银行财报,旗下四家资管子公司2025年上半年总规模4.45万亿元,较年初微降0.51%。其中,招银理财理财产品余额2.46万亿元,较上年末下降0.4%;招商基金的资管业务规模1.54万亿元,较上年末下降1.91%;招商信诺资管的资管业务规模3053.13亿元,较上年末下降0.12%;招银国际的资管业务规模1479.66亿元,较上年末增长13.53%。招商基金与招银理财两者均遭遇盈利下滑。前者净利润连续下滑三年,后者利润则从2022年的35.93亿元降至2024年的27.4亿元。

  在此背景下,钟文岳的回归,或为了打通两家机构在渠道共享、客户分层、净值型产品转型等领域的协同。但截至目前,集团尚未公布具体的协同方案,两家机构的业务重叠仍集中于低风险产品领域,协同效应尚未显现。

业绩滑坡、明星流失招商基金陷入“规模缩、信心减”怪圈?(图3)

  500)this.width=500 align=center hspace=10 vspace=10 alt=>

  500)this.width=500 align=center hspace=10 vspace=10 alt=

  从新任命的高管分工来看,招商基金的管理架构正逐步清晰。朱红裕与王景升任后,负责权益投资与研究体系建设。朱红裕侧重主动权益策略,而王景兼顾组合管理与团队协作。尽管王景2021年至今仍在管理的4只基金中有2只亏损超过20%,所有管理基金中,最高亏损38.55%,但公司仍看重其在行业研究与团队管理方面的积累。

  陈方元则负责机构业务拓展,目标是提升机构资金占比。于立勇与谭智勇分别负责产品设计发行和风险控制管理,两人均具备丰富的业务与运营经验,意在完善产品线布局与风控体系。整体上,这一团队的构成体现了“战略统筹+执行分工”的管理思路:钟文岳负责战略方向与资源整合,五位副手分管关键业务条线,共同推动公司转型。

业绩滑坡、明星流失招商基金陷入“规模缩、信心减”怪圈?(图4)

  500)this.width=500 align=center hspace=10 vspace=10 alt=>

  500)this.width=500 align=center hspace=10 vspace=10 alt=

  2025年以来,招商基金正经历一场由“人事震荡”与“结构调整”叠加而成的深层波动。核心投研团队频繁变动、产品结构主动收缩、盈利能力持续承压,成为这家老牌基金公司面临的三大挑战。

  自2024年下半年起,招商基金启动系统性产品结构优化,清理了12只规模不足5000万元的小微基金,并暂停主动权益类新品发行,将重心逐步转向债券型与指数型产品。到了2025年上半年,新发债券基金规模达到180亿元,占新发总量的62%;与此同时,货币基金占比也由2024年底的62%上升至64%,非货币类规模进一步萎缩。

  这一结构调整虽然在一定程度上强化了风险控制,却也削弱了公司的营收增长动能。由于货币基金管理费率通常仅为0.33%,远低于权益基金的1.5%,产品结构的“稳健化”在事实上压缩了招商基金的盈利弹性。财务数据印证了这一变化:2022年至2024年,公司营业收入从57.57亿元降至53.08亿元,2025年上半年仅微增1.17%;同期平均管理费率约为0.68%,低于行业平均水平的0.75%。可以看出,招商基金在追求稳健的同时,也陷入了“保规模易,提收益难”的增长困境。

  横向来看,招商基金的盈利能力差距在行业中进一步凸显。2025年上半年,易方达基金实现净利润18.77亿元,同比增长23.84%;广发基金为11.80亿元,同比增长43.54%;而招商基金仅录得7.89亿元,较上年同期有所下降,在“新十家”基金公司中排名倒数第二,仅略高于博时基金。造成这一差距的根源在于产品结构失衡招商基金的债券基金占非货币基金规模约40%,而权益类基金占比仅25%。由于权益基金的管理费率通常是债券基金的3至4倍,这种结构性偏好直接压制了公司的盈利水平。

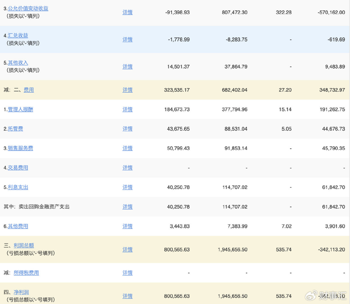
  从具体财务表现来看,招商基金公募基金板块在2025年上半年(截至6月30日)实现总收入112.41亿元,收入结构呈现出明显的“投资驱动”特征上半年投资收益达96.3亿元,占总收入比重接近九成,既是业绩的核心支撑,也反映出公司盈利模式对市场性回报的依赖度较高。

  进一步拆解投资收益结构可见,债券投资以73.71亿元的收益规模成为绝对主力,而股票投资收益仅录得390万元。尽管权益投资收益较上期亏损状态已有改善,但微薄的盈利规模仍凸显出“固收占主导、权益偏弱”的结构性失衡问题:这意味着公司在债券市场环境向好时,能够依托固收业务获得相对稳定的收益,但在权益市场进入回暖周期时,却难以充分把握行情红利,业绩弹性受到明显制约。

业绩滑坡、明星流失招商基金陷入“规模缩、信心减”怪圈?(图5)

  500)this.width=500 align=center hspace=10 vspace=10 alt=>

  500)this.width=500 align=center hspace=10 vspace=10 alt=

  值得关注的是,与投资收益形成补充的公允价值变动收益虽仍为负值(-9.14亿元),但较去年同期-57亿元的亏损规模显著收窄47.86亿元。这一数据变化直观反映出,公司持仓资产的估值调整对利润的冲击已明显减弱,投资端业绩的波动幅度正在收窄,一定程度上体现出资产估值压力的边际缓解。

  在收入端呈现结构性特征的同时,费用端的压力依然不容忽视。本期公司费用总额为32.35亿元,虽较去年同期的34.87亿元略有下降,但在收入同比回落的背景下,费用率仍处于偏高水平。

  从成本结构来看,管理人报酬以18.47亿元占总费用的57%,为最大支出项;托管费(4.37亿元)与销售服务费(5.08亿元)合计占比超三成,两类支出均属于相对刚性的固定成本,反映出公司成本结构中固定支出占比依然较高,成本管控的弹性空间有限。此外,本期利息支出达4.03亿元,主要来源于卖出回购金融资产支出,这一数据表明公司仍存在一定规模的融资操作,而在当前收益回落周期中,这部分资金成本进一步对利润形成了侵蚀。

  从整体利润表现来看,招商基金本期实现利润总额与净利润均为80.06亿元,较去年同期大幅回升,但结合前述财务数据不难发现,公司利润的起伏与投资端表现高度绑定:投资收益的增减、公允价值变动的盈亏直接决定了利润规模,使得业绩呈现出典型的“周期依赖型”特征市场行情向好时,盈利规模能快速放大;市场出现波动时,盈利则随之快速收缩,整体盈利稳定性仍有待进一步提升。

业绩滑坡、明星流失招商基金陷入“规模缩、信心减”怪圈?(图6)

  500)this.width=500 align=center hspace=10 vspace=10 alt=>

  500)this.width=500 align=center hspace=10 vspace=10 alt=

  同时,支撑业绩长期增长的“内核”投研体系,也面临不小的挑战。过去一年,招商基金的内部调整频繁,人员流动加剧,投研团队经历了前所未有的“失血期”。包括多位核心基金经理与部门负责人在内的离职潮,不仅削弱了公司的投研稳定性,也对外部市场信心造成一定影响。

  2024年至2025年期间,招商基金共有8位基金经理离职,部分代表性基金经理的产品在新接任者手中业绩波动明显,部分原本规模百亿的混合基金在半年内缩水近两成。团队动荡的连锁效应还体现在新品发行上2025年上半年公司仅新发15只基金,较上年同期减少8只,其中主动权益类产品仅3只,且发行规模均不足10亿元。

  除了人员流失,公司内部还存在基金经理“一拖多”与新人断层问题。截至2025年上半年,侯昊独立管理三十余只基金,总规模超过554亿元,覆盖招商中证白酒、TMT50ETF等核心产品;王平管理50只基金,滕越等等人亦各自管理数十只以上产品,涉及多资产与多策略配置。高负载管理使得业绩差距拉大侯昊管理的招商国证生物医药指数C任期回报为-60.86%,在同类产品中处于末位,但也有收益超过一倍的招商中证白酒指数A。

业绩滑坡、明星流失招商基金陷入“规模缩、信心减”怪圈?(图7)

  500)this.width=500 align=center hspace=10 vspace=10 alt=>

  500)this.width=500 align=center hspace=10 vspace=10 alt=

  新人断层则进一步加剧不平衡。自2024年以来,公司新任命12位基金经理,其中8人任职不足两年。部分新人此前仅担任研究员或助理基金经理,却需独立管理数只产品。数据显示,这批新任经理管理基金的平均净值波动率达2.3%,较资深经理高出0.9个百分点,风险控制经验明显不足。

  面对投研能力削弱与团队断层,招商基金管理层自2025年5月起启动组织重构,设立九游娱乐文化 九游app官方入口三位首席朱红裕、王景、陈方元分别统筹权益投资、研究体系与机构业务,明确“强化投研力与机构客户力”两大方向。此举旨在打通投研与销售之间的信息壁垒。此前,招商基金机构客户管理费收入占比仅35%,低于行业平均水平的45%,结构单一限制了盈利来源。

  在人才策略上,公司推出“内部培养+外部引进”双轨机制:一方面,从研究部门内部选拔10位资深研究员担任基金经理助理,设立3至5年的培养周期;另一方面,外部引入5位拥有五年以上经验的基金经理,以快速补强权益端短板。同时,绩效考核体系调整为“长期业绩导向”,将三年以上业绩权重从30%提升至50%,以弱化短期波动对考核的影响,增强团队预期稳定性。

  尽管改革方向清晰,但短期效果有限。2025年上半年,公司权益类基金整体仍亏损约12亿元,机构客户流失率达8%。薪酬体系改革尚未完全落地,激励机制与内部晋升路径仍待打通。招商基金要想真正重建核心竞争力,关键在于从“明星驱动”转向“体系驱动”,从“产品扩张”转向“能力修复”。

广告位: 260PX-250PX

关于我们 联系方式 发展历程 帮助中心 广告联系

Copyright © 2024 九游电视娱乐资讯网 版权所有